この試験は、物質の落錘衝撃に対する感度を測定し、その物質が試験されたような形態で輸送するには危険すぎるかどうかを判定するために用いられる。これは、2つの異なる試料の組み合わせを用いることにより、固体と液体に適用することができる。
13.4.1.2.1 固体
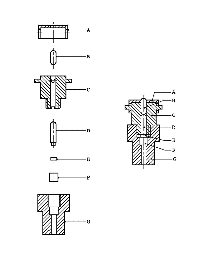
固体打撃試験の装置図を、図 13.4.1.1 および図 13.4.1.2 に示す。装置は、質量 3.63 kg の重りが2本の平行な円筒状のガイドロッドの間を、あらかじめ選択された高さからプランジャー・プラグ組立部に自由落下するように設計されている。この組立部は試料と接しており、試料はダイス・アンヴィル組立部の上に置かれ、内径がちょうどプランジャー・プラグが自由に動くのに十分な大きさの円筒状ケースの中に密閉されている。プランジャー、プラグ、ダイス、ケース、アンヴィルはRockwell C スケールで硬度 50-55 の焼入工具鋼で、合わせ面と試料に接する面は 0.8 ミクロン仕上げになっている。試料保持具の直径は 5.1 mm とする。
13.4.1.2.2 液体
液体用打撃試験装置は、試料組立部を除いては固体用と同様である。液体試験用試料組立品を図 13.4.1.3 に示す。
13.4.1.3.1 固体
10 mg の試料をダイス(C)上に装填する。アンヴィル(E)とダイスを試料ハウジング(F)に入れ、ケーシング(D)をその上にねじ込む。次にプラグ(B)とプランジャー(A)を試料の頂上に挿入する。落錘を高さ 10.0 cm まで上げ、放す。炎や可聴音記録によって、「爆発」が起こるかどうかを観察する。各試験試料について10回試験を行う。
13.4.1.3.2 液体
跳ね返りスリーブ(A)、中間ピン(B)、撃鉄(D)を撃鉄ハウジング(C)の中で組み立てる。銅製カップ(E)をカップ位置決めブロック(図 13.4.1.3 には示されていない)の中に置き、液体試料の1滴をカップ(E)の中に入れる。ハウジング(C)とその構成部品(A、 B、D)をカップ位置決めブロックの頂上に置く。撃鉄(D)の端を一部分カップ(E)の中に入れるが、位置決めブロックによって、実際にはカップ中の液体には接しないようにする。撃鉄ハウジングを位置決めブロックから持ち上げる時、カップは摩擦によって撃鉄の端に保持される。撃鉄ハウジングをアンヴィル用ハウジングにねじ込む。器具の寸法は、撃鉄ハウジングを手でねじ込んだ時に、銅製カップの底がちょうどアンヴィルに触れる寸法になっている。装置全体を固体用に使用したのと同じ落錘装置の中にセットする。落錘を 25.0 cm の高さまで上げ、放す。煙、炎、可聴音記録によって、「爆発」が起こるかどうかを観察する。各試験試料について10回試験を行う。
13.4.1.4.1 固体
10回中5回以上の落高 10 cm での試験で炎あるいは可聴音が観測されれば、結果は“+”とし、その物質は試験された形態で輸送するには危険すぎるとされる。それ以外は、結果は“-”とする。どちらか決めにくい場合は、Bruceton 法を用いて決定する(補遺2参照)。
13.4.1.4.2 液体
10回中1回以上の落高 25 cm での試験で煙、炎あるいは可聴音が観測されれば、結果は“+”とし、その物質は試験された形態で輸送するには危険すぎるとされる。それ以外は、結果は“-”とする。
13.4.1.5.1 固体
固体の打撃感度測定試験結果
| 試料 | 結果 |
| 過塩素酸アンモニウム | - |
| HMX(乾燥) | + |
| NG ダイナマイト | - |
| PETN(乾燥) | + |
| PETN/水 (75/25) | - |
| RDX(乾燥) | + |
13.4.1.5.2 液体
液体の打撃感度測定試験結果
| 試料 | 結果 |
| NG | + |
| ニトロメタン | - |

(A) 落錘
(B) 試料組立部
図13.4.1.2:固体用試料組立部

(A) |
プランジャー | (B) |
プラグ |
(C) |
ダイス | (D) |
ケーシング |
(E) |
アンヴィル | (F) |
ハウジング |

(A) |
跳ね返りチェックスリーブ | (B) |
中間ピン |
(C) |
撃鉄用ハウジング | (D) |
撃鉄 |
(E) |
胴製カップ | (F) |
アンヴィル |
(G) |
アンヴィル用ハウジング |